Daktrim 35x35


Afwerking: Brute / Aluminium
Keuze: Lengte (2500mm)
Prijs:
Nieuwe prijs10,94
4,38 / m
Levering:
1 - 3 werkdagen

Bestel vandaag en profiteer van 10% extra korting!

⏱️ Zaterdagdeal eindigt over:

Gratis verzending vanaf 249,-
50 jaar garantie op alle producten
✔ Klantbeoordeling: 4,5 / 5

Daktrim 35x35 mm met een standaardlengte van 2,5 meter (2500 mm)
Op zoek naar de meest gangbare maat daktrim? Kies dan voor de daktrim 35x35. De ideale trim voor je veranda, schuur of overkapping. De daktrim is mooi afgewerkt en beschikbaar in diverse kleuren. 

Bij aankoop van iedere lengte en hoek (binnen- of buitenhoek) ontvang je één koppelstuk. Extra koppelstukken zijn bij te bestellen.

Ga jij de daktrim 35x35 op EPDM dakbedekking monteren? Hiervoor heb je MS Ploymeerkit en daktrimschroeven nodig. Voor een bitumen dak is dit niet nodig.

Weet jij niet hoe de montage in zijn werk gaat? Geen zorgen! We hebben een uitgebreide handleiding geschreven om je verder op weg te helpen.

Formaat daktrim 35x35

Lengte: 2500 mm
Breedte: 35 mm
Hoogte: 35 mm
Hoeken 400 x 400 mm

De formaten zijn vergelijkbaar met: CA6303 & Roval 151253

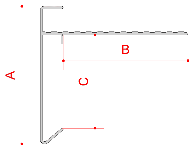
Bij de laatste foto vind je een tekening. De afmetingen hierin zijn als volgt:

A = 35 mm
B = 25 mm
C = 16 mm

Levertijden & Verzending

Bij Rooftopshop kunnen wij in bijna elke gewenste kleur poeder coaten. Bij sommige RAL-varianten duurt dit iets langer. Neem contact met ons op als jij een andere afwerking wenst. 

Brute / aluminium 1 tot 3 werkdagen
RAL9005 (zwart) 1 tot 3 werkdagen
RAL7016 (antraciet) 1 tot 3 werkdagen
Overige RAL kleuren (op aanvraag) 10 tot 15 werkdagen

Gerelateerde producten

Recent bekeken

Laatste klantbeoordelingen